:quality(75)/2020_2_22_637180095572617123_apple-se-ra-mat-mot-chiec-iphone-duoc-phu-kich-o-tat-ca-cac-canh-fptshop-cover.jpeg)
Apple sẽ ra mắt một chiếc iPhone được phủ kích ở tất cả các cạnh
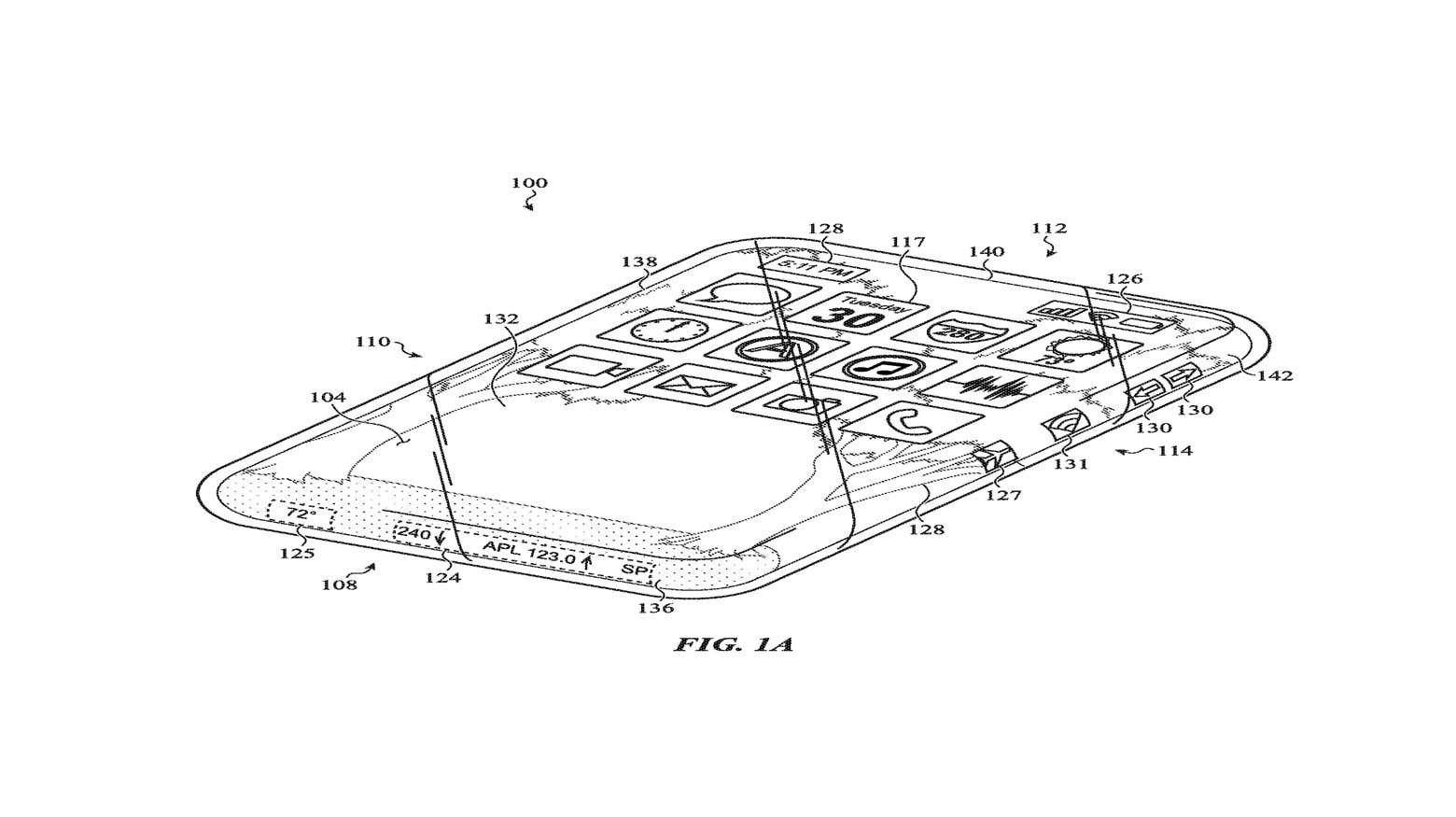
Mới đây Apple vừa đăng ký bản quyền cho một bằng sáng chế về một chiếc iPhone vô cùng thú vị. Không ít ifan sẽ phải đứng ngồi không yên!
iPhone có màn hình hiển thị quanh các cạnh
Apple đã xin cấp bằng sáng chế cho “Electronic Device With Glass Enclosure” (thiết bị điện tử có kính bao quanh). Nhưng thiết bị được đề xuất cụ thể hơn nhiều so với cái tên “vô thưởng vô phạt” đó. Mặt trước/mặt sau và thậm chí cả mặt trên/mặt dưới và cả hai bên cạnh của mẫu iPhone mới là một màn hình duy nhất, không thể bị vỡ.

Và Apple còn đề xuất một hệ điều hành có thể tận dụng tất cả các cạnh đó. “Một giao diện người dùng chính có thể mở rộng ra một mặt trước, một hoặc nhiều mặt ngoại vi và mặt sau của thiết bị” - ghi chú nộp bằng sáng chế. “Điều này có thể cho phép các biểu tượng di chuyển trên nhiều bề mặt khi vuốt và thậm chí có thể cho phép các biểu tượng hoặc đầu ra đồ họa khác xuất hiện dưới dạng giao diện người dùng giống như dạng dải bao quanh thiết bị”.
Rõ ràng, mẫu máy này sẽ không đi kèm với các nút vật lý. Và khe cắm thẻ SIM sẽ là một thách thức về mặt thiết kế. Bằng sáng chế không nói gì về cổng Lightning mà chỉ đề xuất sạc không dây để thay thế.
Nếu điều này có vẻ quen thuộc, Conception iPhone đã xuất bản một video về một thiết bị iOS toàn màn hình vào năm ngoái. Ngoài ra, Apple đã khám phá ý tưởng về màn hình cảm ứng ở các cạnh của iPhone trong quá khứ.

Mặc dù ứng dụng bằng sáng chế này chắc chắn sẽ khiến một số người kinh ngạc và nó cũng khiến những người khác cảm thấy kỳ quặc tuy nhiên việc nộp bằng sáng chế cho một thiết kế không phải là một dấu hiệu chắc chắn rằng Apple dự định sẽ trình làng một chiếc iPhone có màn hình bao quanh. Hãng này thường xuyên đăng ký bằng sáng chế nhưng nhiều trong số không bao giờ trở thành hiện thực.
:quality(75)/estore-v2/img/fptshop-logo.png)