:quality(75)/2018_2_21_636548081530568536_samsung-nhan-bang-sang-che-ve-chiec-drone-tich-hop-man-hinh-lon-cover.png)
Tú Anh
8 năm trướcSamsung nhận bằng sáng chế về chiếc drone tích hợp màn hình lớn
Bằng sáng chế chiếc drone mới của Samsung vừa được xác nhận, và điểm đặc biệt của sản phẩm là có thể điều khiển thông qua cử chỉ tư thế của người dùng.
Chia sẻ:
Bằng sáng chế chiếc drone mới của Samsung vừa được xác nhận, và điểm đặc biệt của sản phẩm là có thể điều khiển thông qua cử chỉ tư thế của người dùng.
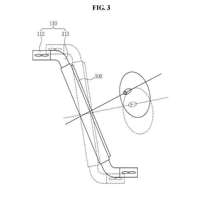
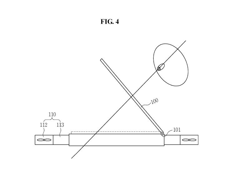
Hình ảnh của bằng sáng chế mới cho thấy sản phẩm sẽ có màn hình to đặt tại trung tâm, với 4 góc sử dụng 4 cánh quạt để bay.
Thân drone được tích hợp camera cùng hệ thống các cảm biến cho việc quan sát, truyền tin ghi nhận từ môi trường ngoài đến bộ xử lý trung tâm. Hệ thống của thiết bị bay có thể theo dõi gương mặt, cử chỉ của đầu, tay hoặc các ngón tay từ người điều khiển để thực thi mệnh lệnh trong thời gian thực.


Người dùng sẽ điều khiển hướng bay, thay đổi tốc độ bằng cách ra lệnh hoặc di chuyển đầu, liếc mắt cũng như đưa tay. Cánh quạt có thể thay đổi theo những góc tách biệt - Giúp drone nghiêng theo nhiều hướng khác nhau nhằm chuyển hướng bay tốt hơn, đồng thời màn hình cũng có thể thay đổi góc nhìn trong khi bay.
Drone mới của Samsung được tích hợp con quay hồi chuyển, hệ thống rung, cảm biến chuyển động và thậm chí có thể là gia tốc kế. Bằng sáng chế trước đó đã được hãng đệ trình hồi 3/1/2016 và tới 13/2/2018 được công nhận.
Không riêng gã khổng lồ Hàn Quốc, Amazon hiện tại cũng có khá nhiều ý tưởng về drone, bao gồm tự hủy trong các tình huống khẩn cấp - Và mức giá sản phẩm đầu tay từ Samsung vẫn còn là ẩn số.
Tú Anh
Theo TheVerge
Chủ đề
:quality(75)/estore-v2/img/fptshop-logo.png)