:quality(75)/2020_3_13_637196809875595498_ar-vr-headset-cover.jpg)
Kính thực tế ảo AR của Apple sẽ hỗ trợ sạc không dây và cảm biến siêu âm?
Từ lâu, Apple đã được đồn đại là đang làm việc trên một chiếc kính AR (Augmented Reality). Vì vậy mà thời gian qua chúng ta đã được nhìn thấy khá nhiều bằng sáng chế về sản phẩm này.
Mới đây nhất, một bằng sáng chế mới của Apple vừa cho chúng ta những thông tin khá thú vị về các tính năng mà chiếc kính AR này sẽ sở hữu.

Theo iPhonehacks, mặc dù có rất nhiều sản phẩm kính AR và VR trên thị trường, từ nhiều thương hiệu khác nhau nhưng Apple có thể biến kính AR của mình thành một sản phẩm độc đáo bằng cách thêm hàng tá tính năng mới, cải tiến và các yếu tố tiện lợi. Bằng sáng chế mới đây cho thấy Apple đã tìm ra giải pháp để người dùng có thể sạc kính AR một cách nhanh chóng.

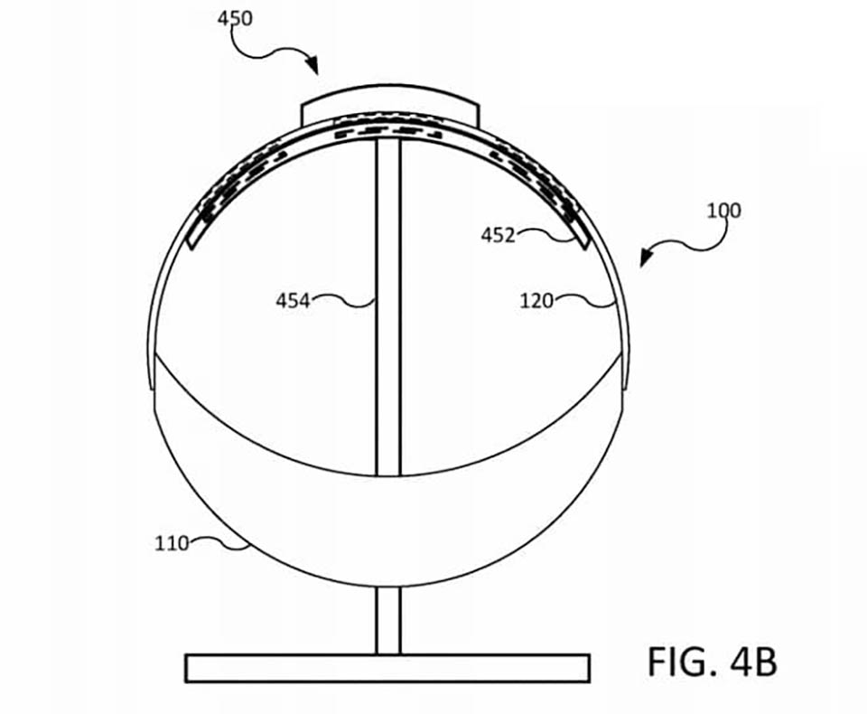
Cụ thể, nhà sản xuất iPhone có kế hoạch thêm sạc không dây cho tai nghe AR trong tương lai của mình bằng cách thêm cuộn dây và nam châm (để căn chỉnh) vào mặt sau của thiết bị. Nhờ đó mà người dùng sẽ có thể đặt sản phẩm này trên các đế sạc không dây để sạc pin, tạo sự tiện lợi trong quá trình sử dụng.
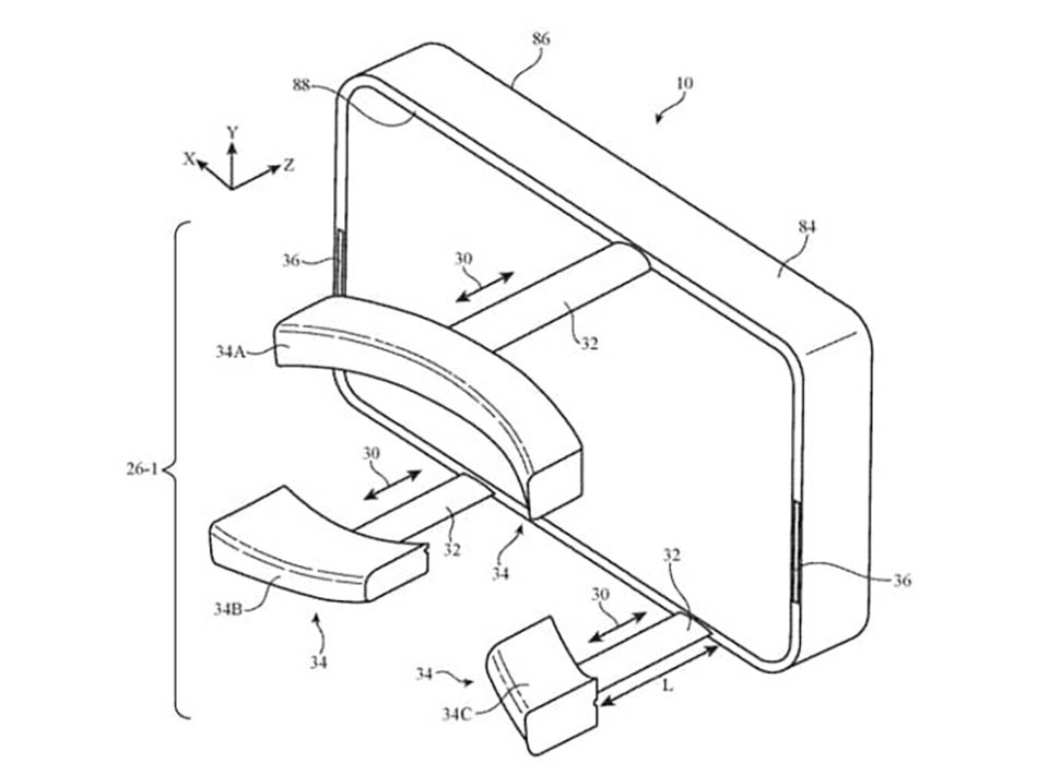
Vì kính AR hoặc VR được người dùng đeo trong một thời gian dài, sự thoải mái là một trong những yếu tố dựa trên việc người dùng quyết định mua tai nghe nào. Bằng sáng chế của Apple mô tả một cách để bao gồm các cấu trúc hỗ trợ có thể điều chỉnh gần trán và má. Các cấu trúc này có thể được điều chỉnh độ dài cũng như góc để người dùng có hình dạng đầu khác nhau có thể đạt được sự thoải mái. Giải pháp cũng bao gồm cáp và đệm linh hoạt.

Chưa hết, một số kính AR và VR đang bán trên thị trường hiện tại sử dụng hệ thống dựa trên máy ảnh hoặc đèn laser để phát hiện các vật thể xung quanh trong thế giới thực. Tuy nhiên, các giải pháp như vậy không phải lúc nào cũng chính xác, vì vậy Apple đề xuất các cảm biến siêu âm để phát hiện đối tượng chính xác hơn.
Những cảm biến đó có thể phát ra sóng siêu âm, truyền tới môi trường xung quanh và dội ngược trở lại kính thực tế ảo AR. Dựa trên thời gian sóng siêu âm trở lại, khoảng cách và vị trí của các vật thể gần đó có thể được tính toán và chuyển tải đến người dùng. Hệ thống này cũng có thể được sử dụng cùng với hệ thống dựa trên máy ảnh để hiển thị cảnh người dùng về thế giới thực.

Đáng tiếc là hiện vẫn chưa rõ Apple khi nào mới ra mắt chiếc kính AR đầu tiên của hãng.
:quality(75)/estore-v2/img/fptshop-logo.png)