:quality(75)/2021_2_5_637481288735926552_6_idnu.jpg)
Kính Apple Glass sẽ có thể tự động điều chỉnh độ sáng phù hợp với mắt người dùng
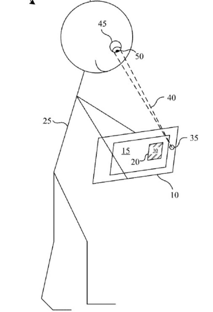
Kính Apple Glass trong tương lai sẽ có thể tự động điều chỉnh độ sáng và nội dung hiển thị phù hợp với mức độ tập trung của người dùng dựa trên phản ứng đồng tử của mắt.
Apple vừa nộp đơn đăng ký bằng sáng chế cho một hệ thống có thể đánh giá mức độ quan tâm của người đeo Apple Glass đối với nội dung đang hiển thị trên kính, nhờ đó mà kính thực tế ảo của Apple có thể điều chỉnh độ sáng của màn hình hoặc thậm chí là tự thay đổi nội dung hiển thị phù hợp.
Điều này được thực hiện bằng các tính toán và đo đạc tình trạng co giãn đồng tử của mắt khi người dùng xem nội dung. Từ đó mà hệ thống có thể xác định xem người dùng có đang chăm chú hay mất tập trung hay không.

Apple cũng đưa ra minh chứng cụ thể, nếu độ sáng của nội dung đang hiển thị tăng lên trong khi người dùng đang chú ý và tương tác, phản ứng đồng tử có thể diễn ra chậm và khép lại nhỏ hơn so với khi người đeo không tập trung. Nhờ đó mà kính cũng có thể được tích hợp thêm các chức năng giúp đưa ra kiến nghị cho người dùng nghỉ ngơi hoặc thay đổi độ sáng để người dùng cảm thấy thoải mái hơn.
Dù chưa có thông tin chính thức nào được đưa ra nhưng một số nguồn tin uy tín gần đây tiết lộ rằng Apple đã lên kế hoạch tung ra kính thực tế ảo đầu tiên của mình sớm nhất vào Q1 2022.
Xem thêm: Đây sẽ là kính thông minh Apple Glass của tương lai?
Theo: Phonearena
:quality(75)/estore-v2/img/fptshop-logo.png)