:quality(75)/2016_9_18_636097903864135150_Microsoft-Surface-Phone-tich-hop-nut-home-ngay-tren-man-hinh-cam-ung-cover.jpg)
Không phải iPhone 8, Microsoft Surface Phone mới là thiết bị đầu tiên xác nhận dấu vân tay ngay trên màn hình hiển thị
Nguồn tin rò rỉ cho biết Surface Phone, chiếc smartphone thế hệ mới của Microsoft sẽ tích hợp dấu vân tay ngay trên màn hình cảm ứng
Theo PhoneArena, Microsoft mới là nhà sản xuất đầu tiên tích hợp cảm biến vân tay ngay trong màn hình cảm ứng của điện thoại chứ không phải là Apple, dựa trên một bằng sáng chế mới được hãng công nghệ tại Redmond đăng ký trong thời gian gần đây.

Ảnh mang tính chất minh họa (Nguồn: WindowsCentral)
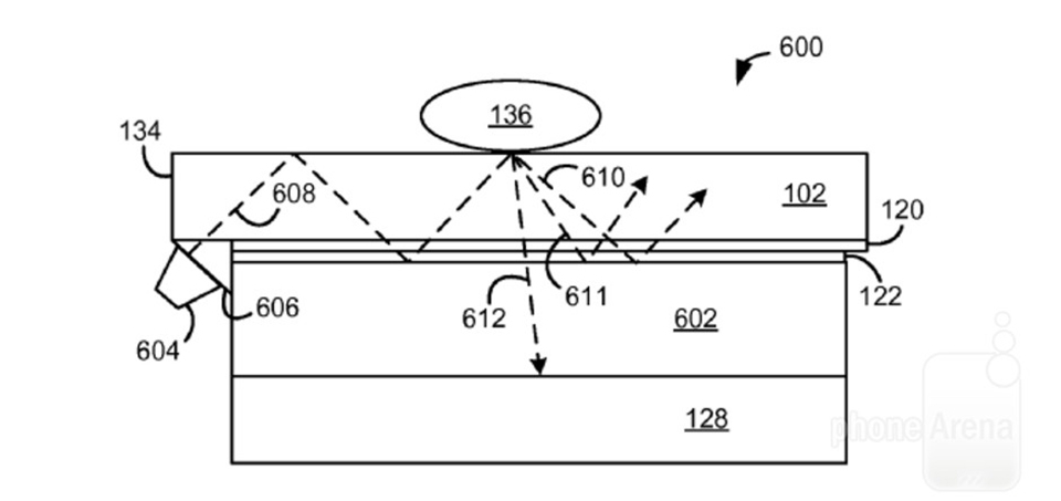
Theo đó, bằng sáng chế mới của Microsoft nhắc đến việc tích hợp nút home vào ngay bên trong màn hình cảm ứng LCD hoặc OLED, qua đó tiết kiệm tối đa không gian của thiết bị nhằm tạo ra những chiếc điện thoại có kích thước mỏng và trọng lượng ngày càng nhỏ, nhẹ hơn.

Thông tin bằng sáng chế được nộp lên Tổ chức sở hữu Trí tuệ Thế giới (WIPQ) cho biết, hệ thống này sẽ bao gồm một thiết truyền dẫn sóng và một bộ lọc bao gồm các cảm biến đặt ngay phía dưới tấm nền màn hình, có thể là LCD hoặc OLED tùy ý. Khi thiết bị nhận thấy có dấu vân tay tương tác lên màn hình, bộ cảm biến sẽ hoạt động và bắt đầu ghi nhận thông tin từ ngón tay của người sử dụng, tương tự như cơ chế của việc đọc dấu vân tay như hiện nay.
Tuy nhiên, ý tưởng này vẫn chỉ dừng lại ở mức độ một bằng sáng chế và chưa có nguồn tin nào xác nhận chúng sẽ được áp dụng một cách rộng rãi trên các sản phẩm thương mại. Trước Microsoft, cũng từng rộ lên tin đồn tương tự về việc Apple sẽ sử dụng công nghệ tương tự trên thế hệ iPhone 8 nhân dịp kỷ niệm 10 năm ra mắt dòng sản phẩm này.
Theo giới công nghệ, việc iPhone 7 và iPhone 7 Plus mới ra mắt loại bỏ nút home cứng và chuyển sang sử dụng nút home cảm ứng cơ chế Taptic Engine là động thái chuẩn bị cho sự thay đổi lớn hơn vào năm sau.
Nếu ý tưởng của Microsoft trở thành hiện thực, nhiều khả năng gã phần mềm khổng lồ Mỹ sẽ áp dụng chúng lên thế hệ những chiếc smartphone tương lai của hãng hay còn gọi là Surface Phone, dự án điện thoại mới được ấp ủ từ rất lâu nhưng vẫn chỉ dừng lại ở mức tin đồn.
Xem thêm:
Duy Lê
Tham khảo: PhoneArena.com
:quality(75)/estore-v2/img/fptshop-logo.png)