:quality(75)/2022_7_15_637935024832768457_iphone-14-man-hinh-gap-4.jpg)
Khám phá iPhone 14 màn hình gập: Hình ảnh, giá bán và những thông tin mới nhất
Cùng phác họa chân dung chiếc iPhone 14 màn hình gập (iPhone 14 Flip) thông qua những tin đồn xoay quanh công nghệ smartphone gập mà Apple thai nghén suốt những năm qua.
Khám phá iPhone 17 series – nâng tầm trải nghiệm công nghệ đẳng cấp. Đặt mua iPhone 17 ngay hôm nay để nhận ưu đãi hấp dẫn cùng loạt quà tặng độc quyền.
Dù hiện tại smartphone màn hình gập chỉ mới được Samsung và Huawei triển khai rộng rãi trên bản thương mại, nhưng không ít thông tin cho thấy Apple cũng đang chạy đua trong việc phát triển công nghệ này, thậm chí hãng có thể hé lộ một chiếc iPhone 14 màn hình gập ngay trong năm nay.
Thực tế, nhiều năm qua giới công nghệ từng thấy được rất nhiều bản đăng ký sáng chế của Apple dành cho công nghệ màn hình gập, cũng như ý tưởng vận hành một chiếc smartphone gấp từ Táo khuyết.
Xem thêm: Giải mã iPhone 14 Pro Max: Ra mắt khi nào, cấu hình ra sao, có gì thay đổi ở camera hay thiết kế?

Tổng hợp thông tin iPhone 14 màn hình gập
Đầu năm nay, trang Bloomberg dẫn một nguồn tin giấu tên về việc Apple đang bí mật nghiên cứu một nguyên mẫu iPhone có cơ chế gập. Nhật báo Kinh tế Đài Loan cũng đồng tình với quan điểm này, thậm chí còn dự đoán rằng năm nay chính là thời điểm để sản phẩm trình làng và như vậy, sự xuất hiện của chiếc iPhone 14 màn hình gập là có thể xảy ra.

Nhà phân tích Ming-Chi Kuo cho biết nguyên mẫu iPhone đầu tiên có màn hình gập mà Táo khuyết phát triển sẽ sở hữu không gian màn hình lên đến 8 inch – lớn hơn cả kích cỡ iPad mini 7.9 inch trên thị trường hiện nay. Dù vậy, thông tin iPhone 14 có gập không đến nay vẫn gây nhiều tranh cãi bởi “ông đồng” Apple cho rằng phải tới 2024 sản phẩm mới đến tay người dùng.
Xem thêm: Mới nhất về iPhone 14: Cấu hình, ngày ra mắt và giá chính thức

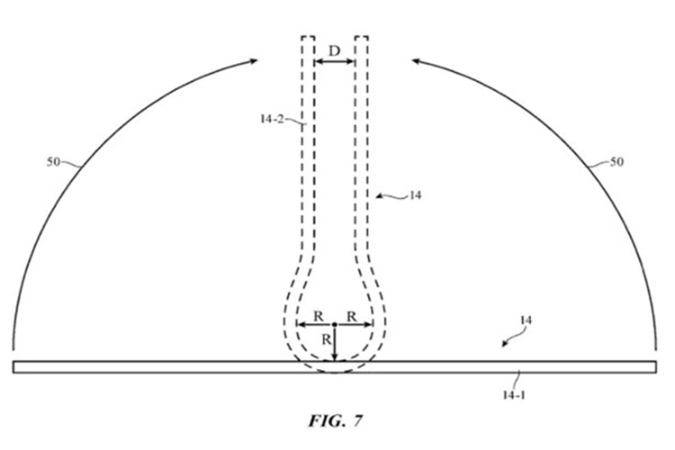
Nếu bạn tò mò cơ chế gấp mở của iPhone 14 gập ra sao thì có thể tham khảo bản vẽ mà trang Tomsguide có được bên dưới. Được biết, hiện Apple đang tiến hành thử nghiệm hai kiểu dáng gập ngang và gập dọc, cả hai đều sử dụng bản lề hybrid. Tuy nhiên, giới công nghệ nghiêm về khả năng chiếc iPhone 14 màn hình gập sẽ có dáng gấp dọc để tiết kiệm diện tích, tăng thêm tính thời trang.

Trong một nỗ lực âm thầm, nhà Táo đã nhiều lần thương thảo với hai gã khổng lồ trong ngành công nghiệp màn hình là LG và Samsung để nghiên cứu màn hình gập dùng trên iPhone mới. Thậm chí Samsung Display từng gửi bản mẫu tấm nền màn hình gập đến cho Apple để tiến hành thử nghiệm cho iPhone 14 gập.

Xem thêm: Tìm hiểu kích thước iPhone 14: Khác biệt lớn ở phiên bản Max
Tên gọi và công nghệ của iPhone 14 màn hình gập
Tên gọi là một trong những yếu tố bí ẩn nhất của chiếc iPhone 14 màn hình gập nếu thực sự lộ diện trong năm nay. Giới chuyên môn hiện dự đoán Apple sẽ sử dụng một cái tên đơn giản cho sản phẩm, rất có thể là iPhone 14 Flip.

Một đề xuất khác cũng được cân nhắc là iPhone 14 Fold. Không loại trừ khả năng Tim Cook sẽ bỏ luôn số đếm sau tên gọi để chuyển sang cách đặt tên tối giản cho dòng sản phẩm hoàn toàn mới này như iPhone Fold hoặc iPhone Flip.
Để tăng độ bền cho iPhone 14 Flip, Apple dự định sử dụng một thiết kế độc đáo trên màn hình dẻo, bao gồm bốn lớp bảo vệ và một lớp hỗ trợ được chế tạo từ chất liệu sapphire. Theo bản đăng ky sáng chế rò rỉ vào tháng 10/2020, hãng đang muốn đưa lên màn hình iPhone 14 Flip lớp phủ có thể tự làm mờ vệt xước trên màn hình.
Xem thêm: Tất tần tật về màn hình iPhone 14: Thiết kế “viên thuốc” và điểm nhấn Always On

Công nghệ độc đáo không chỉ giúp chống xước và tăng độ bền cho iPhone 14 Flip mà còn giúp sản phẩm không tạo nên bất cứ nếp gấp nào trên màn hình khi người dùng gập mở, từ đó gia tăng vòng đời trải nghiệm của thiết bị. Dù vậy, đến nay thông tin này vẫn chỉ dừng ở ngưỡng tin đồn.
iPhone 14 Flip giá bao nhiêu?
Về vấn đề iPhone 14 gập giá bao nhiêu, đây vốn là vấn đề khó rò rỉ và thường giá iPhone mới chỉ được Apple công bố ngay tại sự kiện ra mắt. Tuy nhiên, đến nay công nghệ màn hình gập vẫn là điều hết sức mới mẻ và đòi hỏi nhà sản xuất phải đầu tư mạnh tay vào dây chuyền cùng kỹ nghệ chế tác, điều này khiến giá thành sản phẩm luôn ở mức cao.

Hiện một số mẫu smartphone màn hình gập trên thị trường đang có mức giá dao động từ 25 triệu đồng (thiết kế gập dọc) tới 41 triệu đồng (thiết kế gập ngang), như vậy giá iPhone 14 gập dự kiến cũng sẽ ở mức tương đương hoặc cao hơn khi trình làng.
Xem thêm: iPhone 14 giá bao nhiêu? Dự đoán giá tại Mỹ và giá mở bán tại thị trường Việt Nam

Liệu iPhone 14 có phên bản màn hình gập không?
Dù giới công nghệ rất hi vọng Apple sẽ tung ra phiên bản iPhone 14 màn hình gập trong năm nay, nhưng khả năng này là tương đối khó xảy ra. Là thương hiệu nổi tiếng khó tính trong việc phát triển sản phẩm, Táo khuyết thường chỉ trình làng một dòng thiết bị khi đã đạt đến mức chất lượng cao nhất.
Nhưng dù ra mắt muộn, chiếc iPhone màn hình gập trong tương lai vẫn dự kiến lập tức tạo nên cơn sốt và trào lưu thiết kế smartphone mới, định hình lại quỹ đạo phát triển của toàn bộ ngành công nghiệp di động. Trong quá khứ, hãng từng làm được điều tương tự khi tung ra màn hình tai thỏ và quyết định loại bỏ jack âm thanh 3.5mm.

Hãy cùng chờ xem liệu iPhone 14 gập có trình làng trong năm nay hay không, và liệu trong tương lai nhà Táo có tiếp tục thổi bùng một xu hướng thiết kế mới trong ngành công nghiệp điện thoại hay không nhé.
Xem thêm:
:quality(75)/estore-v2/img/fptshop-logo.png)