:quality(75)/2021_2_5_637481184252084969_apple-lightning-port-cable.jpeg)
Có lẽ đã đến lúc Apple nên làm cáp Lightning trở nên bền bỉ hơn
Một bằng sáng chế mới của Apple vừa cho thấy hãng này đang có ý định nâng cấp các sợi cáp của mình để giúp nó giảm thiểu khả năng đứt gãy trong quá trình sử dụng.
Nếu đã sử dụng sợi cáp Lightning của Apple trong thời gian dài, chắc hẳn nhiều người sẽ không quá ngạc nhiên khi thấy những sợi cáp này một ngày nào đó tự nhiên bị tróc lớp vỏ ngoài gây mất thẩm mỹ. Điều này thường xảy ra ở hai đầu sợi cáp vì thường xuyên bị uốn cong trong quá trình sử dụng.
Tuy nhiên, có thể sắp tới Apple sẽ cải thiện được tình trạng này thông qua một bằng sáng chế giúp các sợi cáp trở nên bền bỉ hơn.

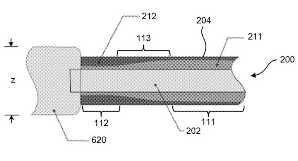
Theo miêu tả của bằng sáng chế này, Apple sẽ sử dụng nhiều lớp vật liệu cứng hơn để gia tăng khả năng chống chịu của sợi cáp, ngoài ra các điểm dễ bị hư tổn nhất như hai đầu dây cũng sẽ được bổ sung thêm vỏ bọc khiến cho nó dày hơn. Apple cho biết, họ sử dụng phương pháp kiểm tra độ cứng của sợi cáp bằng cách tính bán kính uốn cong tối thiểu, tức là bán kính nhỏ nhất mà sợi cáp đó có thể uốn cong được mà không tạo ra nếp gập. Tuỳ thuộc vào từng thiết kế mà bán kính uốn cong tối thiểu có thể đạt 8 đến 12 lần đường kính cáp.
Trước đây không lâu cũng đã có những hình ảnh rò rỉ về một sợi cáp được bọc dù của Apple cho khả năng chống chịu tốt hơn. Đây là việc mà hãng sẽ cần làm sớm trước tình trạng chất lượng của cáp Lightning hiện tại không được đánh giá cao và nhiều người dùng đã phải lựa chọn sang các sợi cáp tương tự từ bên thứ ba.
Theo: Engadget
:quality(75)/estore-v2/img/fptshop-logo.png)