:quality(75)/2020_2_19_637177290418380871_34576-62505-apple-pencil-2-head-l.jpg)
Apple Pencil trong tương lai có thể đi kèm Haptic và theo dõi cách cầm bút của người dùng
Một phiên bản tương lai của Apple Pencil có thể bao gồm một hệ thống có thể phản hồi rung cho các đầu ngón tay của người dùng và cũng có thể phát hiện cách người dùng cầm thiết bị.
Trong một bằng sáng chế được USPTO cấp cho Apple vào thứ ba có tiêu đề "Thiết bị đầu vào dựa trên cảm ứng với phản hồi xúc giác", thông tin chi tiết về cách một hệ thống có thể được sử dụng để thực hiện hai công việc: cung cấp phản hồi xúc giác cho người dùng, đồng thời có thể đọc được đo lực từ độ bám của người dùng.
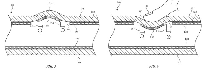
Đề xuất của Apple liên quan đến việc sử dụng một thiết bị áp điện được gắn vào bên trong vỏ, một thiết bị sẽ được kết nối với vùng kẹp của người dùng trong vỏ. Phần kẹp sẽ có thể biến dạng, cả trong và ngoài, cho phép nó được sử dụng để cung cấp thông tin cho người dùng cũng như lấy dữ liệu về mức độ lực tác động lên cây bút.

Về mặt lý thuyết, thiết bị áp điện sẽ đẩy ra vỏ trong khu vực kẹp khi cần cảnh báo cho người dùng thông qua phản hồi xúc giác. Thay vì rung và làm xáo trộn vị trí, chuyển động có thể dựa vào cách cảm giác chạm có thể phát hiện các chuyển động tinh tế, do đó chỉ cần một biến dạng nhỏ để truyền thông điệp đến người dùng.
Trong đề xuất của Apple, có thể có nhiều thiết bị áp điện xung quanh chu vi, cho phép nó cung cấp phản hồi xúc giác ở nhiều vị trí khác nhau, bao gồm cả các biến thể trong cách sử dụng bút stylus.
Đồng thời, các thiết bị áp điện sẽ có thể đọc được lực tác động trở lại vào nó bằng tay của người dùng. Điều này có thể giúp cho hệ thống biết người dùng thực sự nắm bút như thế nào, cho ý tưởng tốt hơn về việc xác định khu vực nào bị biến dạng để chuyển dọc theo thông điệp haptic mà không làm phiền chuyển động vẽ.

Cuối cùng, Apple đề xuất phản hồi xúc giác sẽ cho phép người dùng được cảnh báo về các yếu tố giao diện, chẳng hạn như các cạnh của nút trong ứng dụng, sự hiện diện của các biểu tượng hoặc khu vực mà người dùng có thể viết hoặc vẽ trong đó.
Đây không phải là lần đầu tiên Apple cân nhắc thêm một số hình thức phản hồi xúc giác vào Apple Pencil. Vào tháng 12, công ty đã đề xuất sử dụng các cảm biến và haptic trong đầu bút stylus để mô phỏng tốt hơn cảm giác của giấy khi được sử dụng.
Nguồn: appleinsider
:quality(75)/estore-v2/img/fptshop-logo.png)