:quality(75)/2019_2_27_636868582946359487_fa32.jpg)
Apple Glass có thể giúp tìm vật phẩm, sắp xếp đồ đạc
Sau ánh hào quang của iPhone, Apple đang tìm cách tạo ra những thiết bị mới để giúp hãng tiếp tục dẫn đầu với doanh thu ấn tượng. Một trong số đó là kính thực tế ảo tăng cường Apple Glass.
Apple nhiều khả năng đang làm việc trên một chiếc kính tăng cường thực tế ảo AR, tuy nhiên vẫn chưa thể khẳng định khi nào nó sẽ ra mắt.
Các nhà phân tích hy vọng rằng kính thực tế của Apple có thể được trình làng vào năm 2020. Cho đến lúc đó, những bằng sáng chế của Apple có thể là manh mối duy nhất cho thấy loại kính này đang được phát triển.

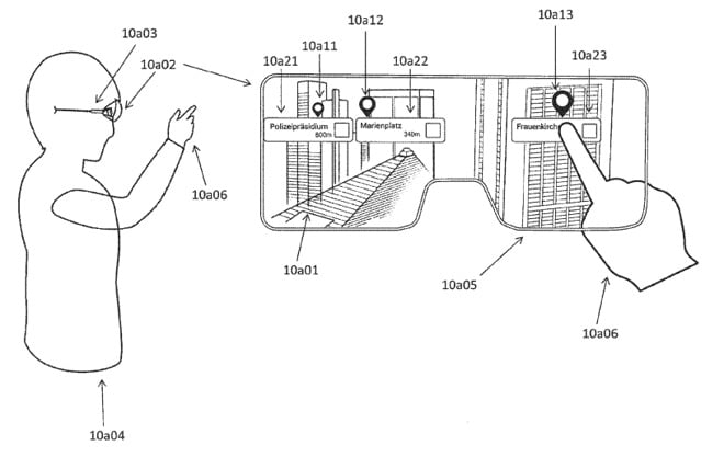
Mới đây, 1 bằng sáng chế về kính AR của Apple cho thấy, một "màn hình gắn trên đầu" có thể cung cấp cho người đeo một "phương pháp để sắp xếp các vật phẩm giống như trong môi trường thực". Đơn xin cấp bằng sáng chế vừa được Văn phòng Bằng sáng chế và Thương hiệu Hoa Kỳ công bố trong tuần này. Trong đó, Apple nêu chi tiết làm thế nào kính AR có thể giúp người đeo trong tương lai không chỉ tìm thấy các vật phẩm trong nhà riêng của họ, hoặc trong xe hơi, mà còn xác định chính xác các vị trí quan trọng.

Mọi thứ được sắp xếp giống như môi trường thực, nhờ vậy mà người dùng có thể biết được những vị trí hợp lý trước khi sắp xếp đồ vật. Ví dụ như 1 tòa nhà, 1 văn phòng đang được hoàn thiện, người dùng có thể dùng iPhone kết nối sau đó có thể thấy được mọi thứ trong tương lai, tìm hiểu thêm về cách sắp xếp, các tiện nghi trong căn phòng…
Nguồn: iphonehacks
:quality(75)/estore-v2/img/fptshop-logo.png)