:quality(75)/2021_7_14_637618626095731822_periscope-camera-iphone-2022-cover.png)
Apple được cấp bằng sáng chế về ống kính tiềm vọng, sẽ trang bị cho iPhone 2022?
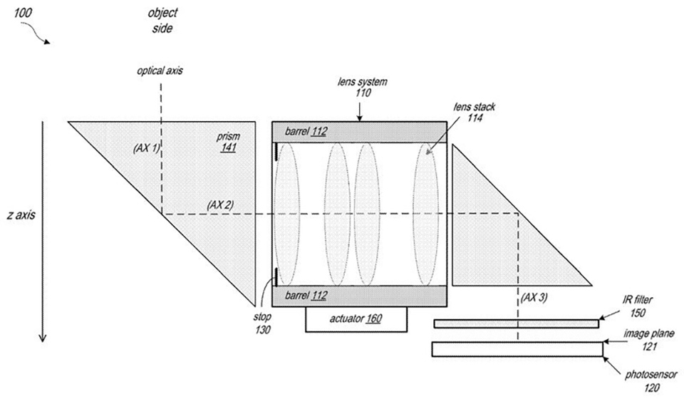
Theo thông tin rò rỉ mới nhất, Apple vừa được cấp bằng sáng chế mới về công nghệ camera sở hữu ống kính tiềm vọng trên iPhone.
Trước đó, “Táo khuyết” đã được đồn đại sẽ giới thiệu iPhone 2022 với khả năng zoom 10x hoặc 100x. Và bằng sáng chế này có thể được sử dụng cho thế hệ iPhone ra mắt vào năm sau.

Bằng sáng chế lần đầu tiên được phát hiện bởi Patently Apple. Nó được cấp cho Apple bởi Văn phòng nhãn hiệu và sáng chế Hoa Kỳ. Theo các tài liệu đi kèm, bằng sáng chế mới của "Táo khuyết" có tên “Folded Camera”, giới thiệu một hệ thống ống kính máy ảnh trên thiết bị di động để chụp ảnh có độ sáng cũng như độ phân giải cao, nhiều khả năng là dành cho iPhone.
Được biết, bằng sáng chế mới về ống kính tiềm vọng của Apple dường như dựa trên công nghệ của Samsung, hiện đang được sử dụng trên Galaxy S20 Ultra mang tới khả năng zoom 100x ấn tượng. “Táo khuyết” có thể đã sử dụng công nghệ tương tự mà Samsung sử dụng cho điện thoại thông minh của mình, và họ sẽ phải trả phí cho công ty Hàn Quốc để dùng nó.

Những chiếc iPhone hiện tại chỉ có thể zoom quang học tối đa là 2.5x do những hạn chế về mặt vật lý. Việc thêm ống kính có khả năng zoom 10x nguyên bản sẽ khiến cụm camera lồi lên khá nhiều so với mặt lưng nên công nghệ này không được các nhà sản xuất điện thoại lựa chọn sử dụng. Thay vào đó, họ đã chọn dùng ống kính tiềm vọng với khả năng zoom lai, cho chất lượng ảnh không thua kém nhiều so với zoom quang học.
Apple được đồn đại sẽ ra mắt những chiếc iPhone trong tương lai có khả năng zoom ấn tượng. Việc được cấp bằng sáng chế cho thấy Apple thực sự nghiêm túc về kế hoạch này. Do đó, có khả năng thế hệ iPhone năm sau sẽ xuất hiện với ống kính tiềm vọng cho khả năng thu phóng ấn tượng. Hãy cùng chờ xem nhé!
:quality(75)/estore-v2/img/fptshop-logo.png)