:quality(75)/2020_6_3_637267805013898391_bang-sang-che-apple-car-cover.jpg)
Apple Car có thể sử dụng LiDAR và dữ liệu cảm biến khác để có trải nghiệm tự lái tốt hơn
Apple đã làm việc trên nhiều dự án xe hơi, bao gồm một chiếc xe thông minh hoàn chỉnh và hệ thống xe tự lái. Các ưu tiên của công ty dường như nhắm đến mục tiêu dễ sử dụng và sự an toàn cho người dùng.
Giờ đây, một bằng sáng chế mới cho thấy Apple đang nghiên cứu các thuật toán tự lái an toàn hơn và đáng tin cậy hơn, lấy dữ liệu từ nhiều cảm biến và sử dụng dữ liệu đó theo nhiều cách khác nhau.

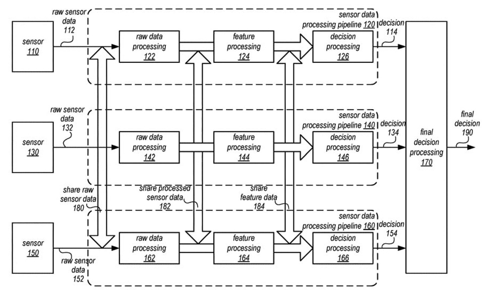
Cụ thể, theo bằng sáng chế được cấp bởi USPTO (Văn phòng Bằng sáng chế và Thương hiệu Hoa Kỳ), Apple đang làm việc trên một hệ thống lấy dữ liệu từ nhiều cảm biến được trang bị trên xe hơi. Thông thường, một quy trình xử lý dữ liệu cảm biến bao gồm thu thập dữ liệu từ một cảm biến và chuyển nó qua một hệ thống xử lý, sau đó quyết định một quá trình hành động.

Bằng sáng chế mới của Apple đề xuất một hệ thống bao gồm lấy dữ liệu lấy từ một cảm biến và xử lý kết hợp với dữ liệu từ các cảm biến khác như cảm biến góc, GPS, quán tính, hồng ngoại, LiDAR và radar. Dữ liệu được chia sẻ giữa các quy trình xử lý này để có thể đưa ra nhiều quyết định ở các giai đoạn khác nhau của các quy trình xử lý đó. Điều này làm cho dữ liệu chi tiết hơn và một quy trình có thể ảnh hưởng đến các quy trình khác để đưa ra quyết định đáng tin cậy hơn.
Việc sử dụng kết hợp cảm biến LiDAR cũng một loạt cảm biến khác sẽ giúp cho chiếc xe hơi tự lái của Apple vận hành an toàn hơn. Hãy cùng chờ xem nhé!
:quality(75)/estore-v2/img/fptshop-logo.png)