:quality(75)/2017_12_10_636485095327280086_am-tham-dang-ki-bang-sang-che-cho-mau-dien-thoai-nap-gap-moi-samsung-dang-di-dung-huong-01.jpg)
"Âm thầm" đăng kí bằng sáng chế cho mẫu điện thoại nắp gập mới, Samsung đang đi đúng hướng?
Có vẻ như Samsung đang rất “nghiêm túc” với kế hoạch của mình khi đã âm thầm đăng kí bằng sáng chế cho mẫu điện thoại nắp gập có thiết kế hoàn toàn mới. Liệu đây có phải là bước đi đúng đắn của Samsung?
Có vẻ như Samsung đang rất “nghiêm túc” với kế hoạch của mình khi đã âm thầm đăng kí bằng sáng chế cho mẫu điện thoại nắp gập có thiết kế hoàn toàn mới. Liệu đây có phải là bước đi đúng đắn của Samsung?

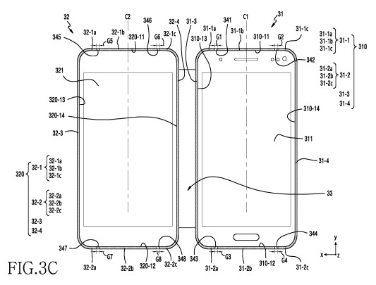
Mới đây, Samsung đã được Cục Sở hữu Trí tuệ của Mỹ cấp chứng nhận bằng sáng chế số US20170351297 cho mẫu điện thoại nắp gập với thiết kế hoàn toàn khác biệt mà chúng ta thường thấy trước đây. Theo đó, thiết bị mới của Samsung có thể được “gấp” lại theo nhiều cách khác nhau và sẽ có hai màn hình nằm trên hai khung kim loại riêng biệt, và được kết nối với nhau bởi một “khớp nối”.

Thiết bị mới sẽ có 2 màn hình được kết nối thông qua một "khớp nối"
Khớp nối này cho phép thiết bị được gấp lại để tạo nên một màn hình kích thước lớn hơn, hoặc có thể làm cho màn hình đều xuất hiện ở mặt trước và mặt sau của máy, và thậm chí là làm cho hai màn hình “đối mặt” với nhau một cách dễ dàng.
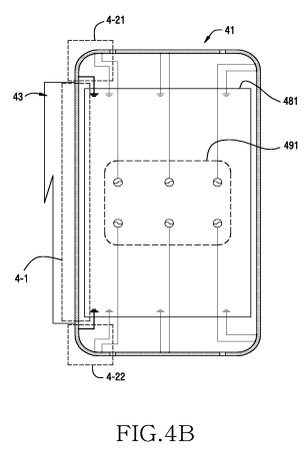
Dù chưa có kết luận đây có phải là một chiếc smartphone hay không, nhưng nếu là thật, có lẽ dải ăng-ten “bắt sóng” sẽ được tích hợp vào khung màn hình hiển thị của máy để tránh việc gây nhiễu tín hiệu. Ngoài ra, từ biểu đồ, có thể thấy thiết bị cũng được hỗ trợ bút S Pen của Samsung, với cảm biến của bút được liệt kê dưới phần Input Device. Thiết bị cũng có một bộ cảm biến sinh trắc học, có thể là cảm biến dấu vân tay hoặc cảm biến để theo dõi sức khoẻ.
Đây là một thiết bị có thiết kế hoàn toàn mới so với các sản phẩm của Samsung hiện tại. Mặc dù chưa chắc chắn rằng mẫu điện thoại nắp gập này sẽ xuất hiện trên thị trường hay không, tuy nhiên, với sự nghiêm túc của Samsung, người dùng hãy cứ tin rằng một ngày nào đó, sản phẩm điện thoại nắp gập thông minh sẽ được “trên tay” trong thời gian sớm nhất.
Một số hình ảnh trong bằng sáng chế:







Bạn nghĩ sao về thiết bị này?
D.N
:quality(75)/estore-v2/img/fptshop-logo.png)