:quality(75)/2019_3_1_636870490178571696_folding-iphone-patent-cover.jpg)
Điểm yếu của smartphone màn hình gập có thể được giải quyết trong bằng sáng chế mới của Apple
Mới đây, một ứng dụng bằng sáng chế mới về mẫu iPhone màn hình gập cho thấy Apple có thể giải quyết một trong những vấn đề xuất hiện trên các smartphone màn hình gập.
Mới đây, một ứng dụng bằng sáng chế mới về mẫu iPhone màn hình gập cho thấy Apple có thể giải quyết một trong những vấn đề xuất hiện trên các smartphone màn hình gập.
Được biết, bằng sáng chế mới của Apple được cấp vào thời điểm một số nhà sản xuất Android khác như Samsung hay Huawei công bố những chiếc smartphone màn hình gập đầu tiên của họ, và có nhiều suy đoán về kế hoạch của Apple.

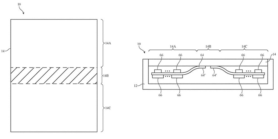
Theo đó, một trong những thách thức lớn mà những chiếc smartphone màn hình gập gặp phải đó là phải ngăn ngừa thiệt hại khi màn hình liên tục bị gập và mở ra. Ứng dụng bằng sáng chế của Apple ngụ ý rằng đây là một vấn đề khi màn hình lạnh và do đó kém linh hoạt. Bằng sáng chế mới cho thấy việc làm nóng phần màn hình này sẽ giảm rủi ro.
Nói cách khác, ứng dụng bằng sáng chế này đang mô tả cách làm nóng màn hình khi điện thoại phát hiện ra rằng nó đang được sử dụng hoặc đang chuẩn bị mở ra hoặc gập lại. Nó mô tả hai cách để làm nóng màn hình.
Ý tưởng đầu tiên - có lẽ là áp dụng độ sáng tối đa cho khu vực màn hình bị uốn cong, hứa hẹn sẽ mang lại hiệu quả mà không cần bỏ sung thêm các linh kiện khác. Bên cạnh đó, bằng sáng chế cũng thừa nhận rằng việc làm nóng màn hình có thể không đủ nhanh trong một vài trường hợp, và như vậy người dùng có thể buộc phải đợi cho đến khi an toàn để gập điện thoại lại.
Tất nhiên, việc Apple nộp bằng sáng chế không có nghĩa là trong tương lại chúng ta chắc chắn sẽ thấy “Táo khuyết” sẽ ra mắt một thiết bị như vậy. Thế nhưng, việc làm này đã cho thấy Apple đang tập trung nghiên cứu và tìm ra những giải pháp khác nhau để màn tới những chiếc iPhone màn hình gập hoàn thiện nhất cho người dùng.
Theo: 9to5mac
:quality(75)/estore-v2/img/fptshop-logo.png)