:quality(75)/2021_3_19_637517505686572108_iphone-13-touch-id-cover.png)
Lộ bằng sáng chế mới của Apple về công nghệ Touch ID dưới màn hình
Thời gian qua, xuất hiện khá nhiều tin đồn cho rằng Apple đang có kế hoạch tích hợp công nghệ cảm biến vân tay Touch ID dưới màn hình cho dòng iPhone 13.
Thời gian qua, xuất hiện khá nhiều tin đồn cho rằng Apple đang có kế hoạch tích hợp công nghệ cảm biến vân tay Touch ID dưới màn hình cho dòng iPhone 13.
Công ty đã có một loạt bằng sáng chế cho các cách khác nhau về công nghệ này. Hôm nay, một bằng sáng chế mới của “Táo khuyết” vừa hé lộ thêm cho chúng ta những thông tin thú vị về công nghệ này.

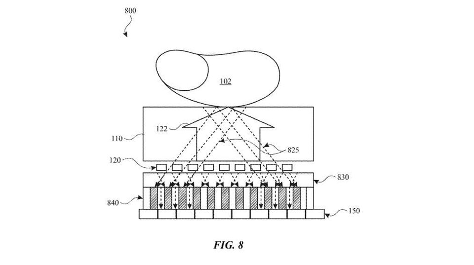
Đơn đăng ký bằng sáng chế, được phát hiện lần đầu tiên bởi Patently Apple và nộp cho Văn phòng Sáng chế và Nhãn hiệu Hoa Kỳ, có tiêu đề "Cảm biến vân tay dưới màn hình dựa trên ánh sáng", và giải thích cách máy quét vân tay dưới màn hình có thể chính xác hơn và đáng tin cậy.
Apple mô tả công nghệ của mình là một hệ thống "cảm biến vân tay dưới màn hình nâng cao", không giống như nhiều máy quét vân tay dưới màn hình hiện có khác được sử dụng trên các thiết bị Android, sử dụng "ánh sáng góc ngoài trục" để đọc dấu vân tay hiệu quả hơn mà không làm tăng kích thước của các linh kiện bên trong.
Hầu hết các hệ thống quét vân tay quang học dưới màn hình sử dụng ánh sáng phát ra từ màn hình của thiết bị để chiếu sáng đầu ngón tay của người dùng. Ánh sáng này bị phản xạ khỏi dấu vân tay và trở lại thông qua các khe hở nhỏ giữa các pixel màn hình. Sau đó, một cảm biến bên dưới màn hình có thể đọc dấu vân tay và xác thực người dùng.
Do "thông lượng và nhiễu xạ ánh sáng yếu" gây ra bởi ngăn xếp màn hình, hình ảnh vân tay có thể có độ tương phản thấp và tỷ lệ tín hiệu trên nhiễu thấp, làm cho dấu vân tay khó đọc hơn và có khả năng tăng thời gian để xác thực người dùng.

Để khắc phục vấn đề này, Apple đề xuất một hệ thống trong đó ánh sáng góc ngoài trục từ ngón tay được thu nhận thông qua một loạt "tùy chọn lọc phụ thuộc vào góc giữa màn hình và cảm biến." Theo Apple, phương pháp này có thể "cải thiện độ tương phản của dấu vân tay và duy trì sự nhỏ gọn của toàn bộ hệ thống cảm biến".
Chưa hết, “Táo khuyết” cũng thảo luận về một phương pháp sử dụng lăng kính Fresnel hoặc lưới phát sáng để "chuyển" ánh sáng thành các tia sáng thẳng.
Bạn mong đợi điều gì từ Touch ID trên màn hình cho iPhone?
:quality(75)/estore-v2/img/fptshop-logo.png)