:quality(75)/2021_2_6_637482056562165602_6_idnu.jpg)
Kính Apple Glass sẽ có thể tự động điều chỉnh độ sáng và nội dung phù hợp với người dùng
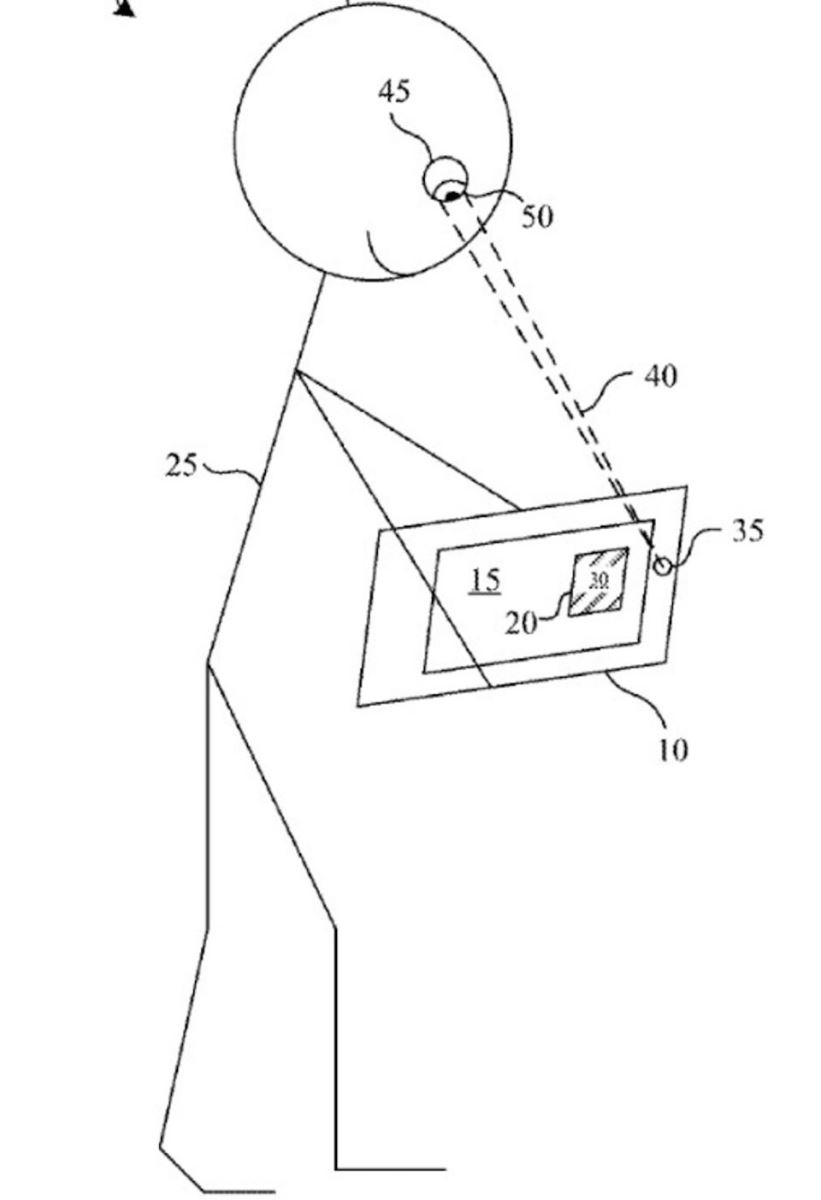
Apple vừa đưa ra một bằng sáng chế mới cho công nghệ theo dõi mức độ tập trung của người đeo Apple Glass đối với các nội dung đang hiển thị.
Apple vừa đưa ra một bằng sáng chế mới cho công nghệ theo dõi mức độ tập trung của người đeo Apple Glass đối với các nội dung đang hiển thị. Bằng cách xác định độ co giãn đồng tử của mắt khi người dùng đang theo dõi mà hệ thống có thể xác định xem người này có đang thực sự tương tác với các nội dung hiển thị trên kính hay không.

Ví dụ, khi độ sáng của hình ảnh tăng lên, nếu người dùng đang tập trung vào đó thì đồng tử sẽ phản ứng chậm và khép lại nhỏ hơn so với khi người đeo không tập trung. Nhờ đó mà kính thực tế ảo của Apple có thể tự động điều chỉnh độ sáng của màn hình hoặc thậm chí là tự thay đổi nội dung hiển thị phù hợp hơn trong hoàn cảnh đó.
Gần đây, Apple đang khá tích cực trong việc nghiên cứu và phát triển dòng kính thực tế ảo còn khá mới mẻ này. Nhiều thông tin cho rằng hãng sẽ bắt đầu tung ra thế hệ kính Apple Glass đầu tiên của mình vào đầu năm 2022. Chúng ta hãy cùng chờ đón xem!
Theo: Phonearena
:quality(75)/estore-v2/img/fptshop-logo.png)