:quality(75)/2021_2_5_637481405300473923_apple-lightning-port-cable.jpeg)
Apple có thể sẽ cải tiến các sợi cáp của mình trong thời gian tới
Apple vừa đăng ký một bằng sáng chế mới liên quan tới cấu tạo dây cáp cho các sản phẩm trong tương lai của hãng.
Apple vừa đăng ký một bằng sáng chế mới liên quan tới cấu tạo dây cáp cho các sản phẩm trong tương lai của hãng. Các loại dây cáp sạc và cáp tín hiệu của Apple vẫn gần như không có nhiều sự thay đổi trong những năm qua. Tuy nhiên, về độ bền của các loại dây này cũng không được đánh giá cao. Vì vậy mà có thể hãng đang có ý định nâng cấp các sợi cáp của mình để giúp nó trở nên chắc chắn và bền hơn.

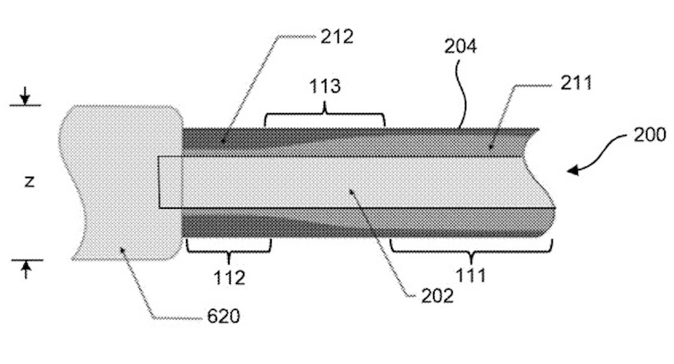
Apple cho biết, hãng sẽ sử dụng nhiều lớp vật liệu cứng hơn để gia tăng khả năng chống chịu của sợi cáp, ngoài ra các điểm dễ bị hư tổn nhất như hai đầu dây cũng sẽ được bổ sung thêm vỏ bọc kiên cố hơn. Chưa rõ chất liệu mà Apple dùng là gì nhưng theo những gì được miêu tả, sợi cáp này sẽ chắc chắn và bền bỉ hơn thế hệ hiện tại rất nhiều.
Bằng sáng chế này chỉ đề cập tới cách thức gia cố sợi cáp nên chưa rõ loại cáp nào sẽ được nâng cấp tuy nhiên, gần đây cũng đã có một số hình ảnh rò rỉ cho thấy một sợi cáp Lightning được bọc dù chưa được Apple công bố. Có thể các sản phẩm công nghệ trong năm nay sẽ dần được hãng thay thế bằng loại cáp mới này.
Theo: Engadget
:quality(75)/estore-v2/img/fptshop-logo.png)